Rebobinadoras
Soluciones integrales para corte y rebobinado de bobinas
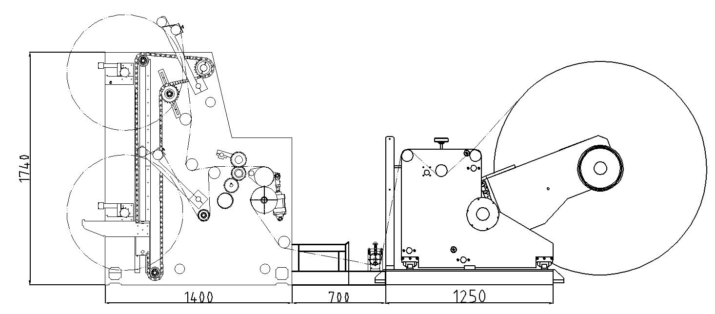
Ofrecemos una línea completa de máquinas rebobinadoras-cortadoras diseñadas para satisfacer las necesidades de empresas que procesan papel, cartulina, diversos tipos de plásticos, materiales laminados, papel autoadhesivo, no tejidos y otros sustratos flexibles. Nuestra gama abarca cinco modelos especializados, capaces de trabajar con rollos de distintos tamaños y gramajes, desde formatos compactos hasta grandes bobinas industriales.
Cada modelo está equipado con sistemas de control automatizado mediante PLC y pantallas táctiles, tecnología servo para garantizar precisión y rapidez en el corte, y mecanismos que facilitan la carga, descarga y el manejo eficiente de los materiales incluyendo control automático de tensión, corrección de alineación por sensores, y opciones personalizadas para adaptarse a procesos específicos de cada cliente.
Gracias a su diseño robusto y componentes de alta calidad, nuestras máquinas garantizan seguridad, estabilidad y facilidad de operación, permitiendo optimizar la producción y obtener resultados uniformes en el procesamiento del material. Ya sea para grandes volúmenes o aplicaciones especializadas, nuestras soluciones ofrecen versatilidad y alto rendimiento para los diferentes sectores industriales.
| Ancho máximo de bobina | 1600 a 2800 mm |
| Diámetro máximo de desenrollado | Φ 1600 mm |
| Ancho mínimo de corte | 50 mm |
| Diámetro máximo de rebobinado | Φ 1500 mm |
| Velocidad | 350 m/min |
| Gramaje de corte | 30 a 500 gsm |
| Potencia total | 48 kW a 70 kW |
| Alimentación requerida | 380V 50hz |
| Peso (aprox) | 12000 a 18000 kg |
| Dimensiones (LxWxH) (mm) | 7500x3500 a 3900x2400 |
| Diám. máx. bobina | 1100/1300/1600/1800/2000 mm |
| Diámetro máximo de desenrollado | Φ 800-1200 mm (Opcional 1400 mm) |
| Ancho mínimo de corte | 30 mm |
| Diámetro máximo de rebobinado | Φ600mm |
| Velocidad | 400 m/min |
| Gramaje de corte | 30 a 500 gsm |
| Potencia total | 15 kW a 30 kW |
| Peso (aprox) | 3000 a 4000 kg |
| Dimensiones (LxWxH) (mm) | 2100x2500 a 3100x2100 |
| Diám. máx. bobina | 1300 / 1600 / 1800 / 2000 mm |
| Diámetro máximo de desenrollado | Φ 1500 mm |
| Ancho mínimo de corte | 76 mm |
| Diámetro máximo de rebobinado | Φ 1500 mm |
| Velocidad | 400 m/min |
| Gramaje de corte | 50 a 450 gsm |
| Potencia total | 25 kW a 40 kW |
| Peso (aprox) | 4000 a 6000 kg |
| Dimensiones (LxWxH) (mm) | 4500x3300x1900 |
| Diám. máx. bobina | 1100/1300/1600/1800/2000 mm |
| Diámetro máximo de desenrollado | Φ 1400mm / 1600mm |
| Ancho mínimo de corte | 30 mm |
| Diámetro máximo de rebobinado | Φ1000mm / 1200mm |
| Velocidad | 10 - 350 m/min |
| Gramaje de corte | 30 a 500 gsm |
| Potencia total | 20 kW a 35 kW |
| Alimentación requerida | 380V 50hz |
| Peso (aprox) | 5000 a 6000 kg |
| Dimensiones (LxWxH) (mm) | 4200x2000 a 2600x1950 |
